
Specification parameters
Our pneumatic globe valve is suitable for two models: DN: 15 and PN420
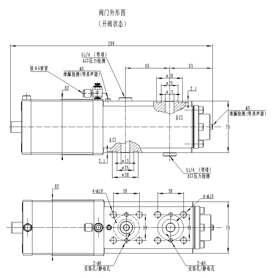
Model: ZF092-13-NC-00
Applicable media: Non corrosive gases such as air, nitrogen, argon, oxygen, etc
Medium temperature: -40~80 ℃
Environmental temperature: -40~60 ℃
Function form: Single acting normally closed air open type
Driving gas pressure: 0.5~0.8MPa
Valve body material: brass
Valve core material: nickel based alloy
Voltage withstand test: 63MPa
Air tightness test: 46.2MPa
Customized internal thread (G3/4 "MAX) or welded connection method (phi 28MAX) according to customer needs
Weight: 10.5Kg
Lifetime: 50000 times
If you need a normally open or double acting type, please contact the manufacturer
Special connection dimensions require contacting the manufacturer

The characteristics of pneumatic shut-off valves:
1. Balanced structural design with low valve opening and closing force
2. Suitable for high-pressure oxygen medium
3. Unique design of conical valve core and sealing structure, good sealing performance, low friction, and long service life
4. Unique structural design, easy maintenance
5. Small switch travel and short opening and closing time
6. Adjustable valve opening and closing speed to avoid danger caused by pipeline flow velocity impact

Shandong Shineeast Fluid Control Systems Co., Ltd., founded in 2001, is a professional manufacturer of highly engineered fluid and gas handling equipment designed to generate, store and control high pressure gases and liquids.
In addition to offering a comprehensive range of air driven liquid pumps, air pressure boosters, air driven gas boosters, high pressure valves, fittings and accessories, pnematic power packs and hydraulic presses, pressure test machines, valve and pipe fittings test equipments, finishing pumps and related equipments, gas cylinder test equipments and the oil and gas field special controls and test equipments, we customize and build pneumatic power packs and test equipment. Our main manufacturing locations are fully registered to ISO9001 and CE.


Online Consultation
If you have any questions, please contact us and we will contact you as soon as possible.
CONTACT US
Please use the form below to get in touch.
If you need a reply we will get in touch as soon as possible.